Der kraftstoffilter muß regelmäßig ersetzt werden. Beim dieselmotor ist der kraftstoffilter im rahmen der wartung zusätzlich regelmäßig zu entwässern.
Es wird kein sonderwerkzeug benötigt.
Folgendes verschleißteil muß gekauft werden:
Einspritzmotoren
Der kraftstoffilter sitzt am fahrzeugunterboden rechts vor dem kraftstofftank. Es sind daher ein wagenheber sowie unterstellböcke erforderlich. Außerdem sind 2 schlauchklemmen zum abklemmen der zu- und ablaufleitung nötig. Es können auch stattdessen schraubzwingen verwendet werden.
Ausbau
Achtung: kein offenes feuer, brandgefahr!

Vorher klemmschelle am anschluß lösen.
Einbau

Dabei auf richtige einbaulage des filters achten. Der pfeil - 2 - auf dem filtergehäuse zeigt in durchflußrichtung.
Kraftstoffilter vergasermotoren ersetzen/feinsieb reinigen

Kraftstoffilter dieselmotor entwässern/ersetzen
Der kraftstoffilter muß alle 7500 km oder spätestens einmal jährlich entwässert und alle 20000 km ersetzt werden. Zum auffangen des wassersatzes ist ein geeignetes auffanggefäß erforderlich. Achtung: auslaufender dieselkraftstoff muß besonders auf gummiteilen (kühlmittelschläuche) sofort naß abgewischt werden, da er sonst diese teile im lauf der zeit zersetzen kann.
Entwässern

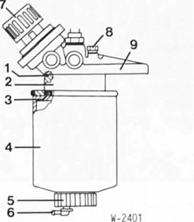
1 - Dichtring, 2 - heizelement, 3 - dichtring, 4 - filterpatrone, 5 - verschlußdeckel, 6 - ablaßventil (nur 524 td). 7 - Handpumpe (nur 524 td), 8 - entlüftungsschraube. 9 - Filterflansch.
Entwässern
Etwa vi liter wassersatz ablaufen lassen, bis reiner dieselkraftstoff austritt.
Filterwechsel
Hinweise auf dem filter beachten.
Funktion der kennfeldgesteuerten zündanlage (motronic)
Bei der bosch-motronic. Auch dme (= digitale motorelektronik)
genannt, wird die zündanlage ebenso wie die einspritzanlage
über sogenannte kennfelder durch eine gemeinsame
zentralelektronik gesteuert
bei der kennfeldgesteuerten zündanlage wird der opti ...
Unteres Fach belüften*
Schieber im unteren Fach nach oben schieben.
Im belüfteten Fach können abhängig von
der Einstellung der Klimaautomatik hohe Temperaturen auftreten. Sollte dies
auftreten, den Schieber zum Schließen der Belüftung nach unten schieben.
Vers ...