Die transistorzündanlage (tsz) ist ein kontaktloses zündsystem.
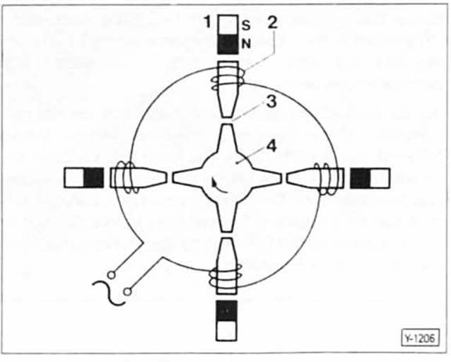
Anstelle des unterbrecherkontaktes ist der zündverteiler mit einem wartungsfreien induktivgeber ausgestattet. Ein zündkondensator ist nicht erforderlich. Der induktivgeber besteht aus einem dauermagneten, einer magnetspule und einem mit der verteilerwelle verbundenen verteileranker.
Der induktivgeber steuert das tsz-schaltgerät an und bestimmt somit den aus- und einschaltpunkt des zündspulenstromes.
Die zündverstellung wird wie bei der unterbrecherkontaktgesteuerten zündanlage durch unterdruck und fliehkraft an der verteilerwelle vorgenommen.

Da sich der verteileranker - 4 - mit der verteilerwelle dreht, ändert sich der abstand - 3 - zwischen verteileranker und den statorpolen ständig. Dadurch wird in die magnetspule - 2 - eine wechselspannung induziert. Entsprechend den spannungsänderungen löst das schaltgerät zusammen mit der zündspule den zündfunken aus. Die zündung erfolgt immer dann, wenn sich die pole des verteilerankers gerade wieder von den statorpolen entfernen. Weitere in der abbildung dargestellte teile sind: - 1 - dauermagnet, - s - südpol und - n - nordpol des dauermagneten.
Um das schaltgerät und die zündspule vor hoher erwärmung zu schützen, schaltet das schaltgerat bei eingeschalteter zündung und stehendem motor die spannungsversorgung der zündspule ab.
Aus sicherheitsgründen hat die zundspule eine 5,5 mm große öffnung mit verschlußstopfen. Sie dient dazu, die vergußmasse der zündspule im falle eines schaltdefektes im tszschaltgerät gezielt austreten zu lassen.

Achtung: die arbeitswärme des tsz-schaltgerätes wird über die grundplatte abgeleitet. Deshalb darf der motor nur laufen, wenn das schaltgerät fest installiert ist.
Anzeigen in der Instrumentenkombination
Gespeicherte Wunschgeschwindigkeit
grün: Das System ist aktiv.
orange: Das System ist unterbrochen.
Leuchtet gelb: vorausfahrendes Fahrzeug erkannt
Blinkt rot, ein Signal ertönt: Das System kann den Abstand nicht herstellen, ...
Öl im ausgleichgetriebe wechseln
Das öl im ausgleichgetriebe der hinterachse
muß im rahmen der wartung alle
60000 km gewechselt werden.
Benötigtes sonderwerkzeug:
10- oder 12-mm innensechskantschlüssel
für einfüll- und ablaßschrauben.
Benöti ...